When done correctly, broadening the claims allows a patent owner to broaden the scope of the patent in order to capture design-arounds or perhaps new products, which are not covered by the previous claims. While it is proper to broaden the scope of a patent under certain circumstances and procedures, the broadened claims must be properly supported by the disclosure of the patent. If the disclosure does not support the new claims, and an examiner nevertheless allows and issues the new claims, the patent can be invalidated- as happened in this case.
In Synthes USA, LLC vs. Spinal Kinetics Inc., which involved U.S. Patent No. 7,429,270 (the ‘270 Patent), the Federal Circuit upheld a California jury’s verdict invalidating Synthes’ spinal-implant patent. The court agreed that the written descriptions in the ‘270 Patent did not fully support its claims.
Specifically, the jury found Synthes’ claim for a “third plate containing a plurality of openings” was lacking proper support in the written description. That finding agreed with Spinal Kinetics’ argument that the claim should be limited to grooves on the circumference of the implant’s cover plates because the written description doesn’t describe cover plates with holes or slots.
In its opinion, the court noted: “The importance of the ‘plurality of openings’ limitation to Synthes’ infringement case is evident when viewed in light of the accused devices. [Spinal Kinetics] devices do not employ peripheral grooves, but instead use slots, or openings, on the cover plates…[b]ecause the jury’s verdict is supported by substantial evidence, we must defer to that finding.”
The ‘270 Patent was directed to an intervertebral implant designed to replace a diseased or degenerated disc located between adjacent vertebrae of a human spine. Apparently, about five years after the original patent application was filed, a new set of claims was added so that the ‘270 Patent would capture Spinal Kinetic’s product, which added the concept of “openings” in a third plate of the implant.
In determining whether a written description is adequate to support the claims, the court looks at whether, at the time of filing the application, the specification reasonably conveys to one skilled in the art, that the inventor had “possession” of the claimed subject matter. Basically, the written description must properly describe all of the elements found in the claims.
Here, although the original disclosure of the ’270 Patent described “grooves” and “channels,” there was no mention of “openings,” a more broader term that encompasses a feature found in the accused products, but not covered by the narrower terms “channels” or “grooves.” In making that determination, the court noted that the description included severe examples of what it was meant by “grooves” and what was meant by “channels” and neither description or examples were broad enough to encompass the “openings” feature found in the accused products, and which the ‘270 Patent had been broadened to cover.

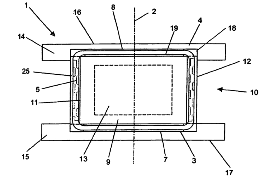
Grooves 18 are shown in the Figures of the ‘270 Patent, which was found not to include the broader term “openings,” as construed in the context of the accused device.
Supported by expert testimony, Spinal Kinetics argued that absent a description that covered “openings,” there are significant bio-mechanical property differences between using peripheral grooves and interior slots, so that the use of one term does not equate the other. Hence, if the ‘270 Patent really had intended to cover “openings” it would have had a proper written description that more adequately addressed these differences.
The court agreed, that the written description did not disclose anything more than grooves or channels, and thus, that the broadened claims were invalid as lacking proper support in the specification, reasoning that it would not be evident to those skilled in the art that the disclosed peripheral grooves would even serve the same bio-mechanical function as slots or “openings” in general.
This is precisely why it is important to speak with inventors about possible design-arounds that competitors can implement into a device or process. Engaging inventors to think outside the bounds of their invention will prove useful in drafting not only a broad application, but also helpful for using language in the written description that will properly support a later broadening of the claims if necessary.
Read the Opinion here.
Saul Acherman
Attorney at
JAFARI LAW GROUP®, INC.